ПРОБНИКИ-ИНДИКАТОРЫ НАПРЯЖЕНИЯ

Проверяя монтаж транзисторной конструкции и режимы работы ее каскадов, достаточно бывает убедиться в наличии напряжения на том или ином участке цепи, а также определить его полярность и характер (постоянное или переменное). Здесь и пригодится простой пробник (рис. 8), содержащий всего восемь деталей. Его рабочий диапазон составляет 2... 30 В для постоянного и 1,5... 21 В (действующее значение) для переменного тока. Потребляемый пробником ток равен 3 мА и не зависит от измеряемого напряжения, что важно при подключении пробника к маломощным цепям.
На диодах VD1—VD4 собран по мостовой схеме выпрямитель, в плечи моста включены светодиоды HL1 и HL2 — индикаторы напряжения. В диагонали моста стоит стабилизатор тока, выполненный на полевом транзисторе VT1.
В гнездо XS1 вставляют проводник с зажимом—его соединяют с общим проводом конструкции. Щупом же ХР1 касаются нужных цепей монтажа. Если на зажиме минус, а на щупе плюс напряжения, горит светодиод HL1 « + ». При обратной полярности зажигается светодиод HL2 «—». Когда пробник подключают к цепям переменного тока, светятся оба индикатора. Яркость их независимо от измеряемого напряжения (в указанных выше пределах) остается постоянной, поскольку ток в их цепи поддерживается стабилизатором постоянным.
Пробник удобно смонтировать в корпусе автомобильного индикатора или в другом прозрачном корпусе. Внутрь корпуса вставьте печатную плату (рис. ■9) из фольгированного стеклотекстолита толщиной 1 ... 1,5 мм. К проводникам на концах платы припаяйте облуженные с обеих сторон полоски медной фольги (размерами 10X10 мм) так, чтобы они немного не доходили до отверстий под выводы диодов, а затем загните полоски на другую сторону платы. Образуются электрические контакты, с помощью которых плата будет в дальнейшем соединена со щупом и проводом от гнезда XS1.
Плата рассчитана под миниатюрные детали. Диоды могут быть ДЭГ— Д9Л или КД102, КДЮЗ с любым буквенным индексом. Вместо КПЗОЗД подойдет транзистор КП303Г, КПЗОЗЕ, КП307 с индексами А—В, Ж. Начальный ток стока должен быть не менее 3 мА. Светодиоды — любые, но возможно меньших габаритов.
После монтажа индикатора его налаживают — подбирают резистор по заданному току стабилизации. Вначале вместо резистора подключают цепочку из последовательно соединенных переменного резистора сопротивлением 1 ... 2 кОм и постоянного резистора сопротивлением 100 Ом. Отключив от светодиодов вывод стока транзистора, подключают к нему плюс источника питания напряжением 4... 6 В, а минус источника соединяют с затвором. Перемещением Движка переменного резистора устанавливают ток 3 мА, измеряют получившееся сопротивление цепочки и впаивают в плату постоянный резистор такого же сопротивления. Если будет установлен транзистор с начальным током стока
3 мА, резистор вообще не нужен — затвор транзистора соединяют с истоком.
Готовую плату закрывают со стороны печатных проводников изоляционной лентой или декоративной пленкой с отверстиями под светодиоды, а со стороны деталей — отрезком темной фотопленки, после чего вставляют плату в корпус и подключают к щупу и гнезду.
Думается, что при отсутствии автоиндикатора вы сможете самостоятельно разработать монтажную или печатную плату под имеющийся корпус.
Возможен и другой вариант схемного решения индикатора, показанный на рис. 10. Он состоит всего из пяти деталей. Правда, потребляемый им ток вдвое больше тока, потребляемого предыдущим индикатором, и несколько поднялся нижний предел измеряемых напряжений—до 3 и 2,1 В соответственно для постоянного и переменного токов.
Стабилизатор тока выполнен на транзисторах VT1 и VT2. Он нагружен на встречно-параллельно включенные светодиоды HL1 и HL2. Гнездо XS1 (или зажим «крокодил») соединяют с общим проводом контролируемого устройства, а щупом ХР1, как и в предыдущем индикаторе, касаются интересующих точек монтажа. Если на щупе плюс напряжения, вспыхивает светодиод HL2, если минус — HL1. Одновременное зажигание обоих светодиодов свидетельствует о наличии между щупом и зажимом (гнездом) переменного напряжения
Кроме указанных на схеме, подойдут транзисторы КПЗОЗЕ, КПЗОЗГ, КП302Г. Светодиоды — любые из серий АЛ 102, АЛ307.
Детали этого пробника можно смонтировать на плате (рис. 11) из фоль-гированного материала.
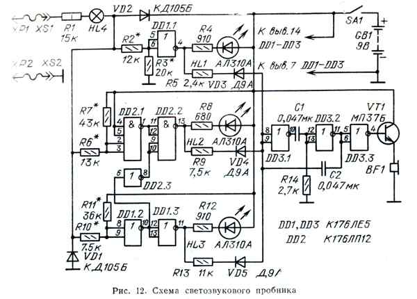
Интересен светозвуковой пробник-индикатор, позволяющий прозвонить монтаж, убедиться в наличии постоянного или переменного напряжения от 5 до 400 В, определить полярность постоянного напряжения.

В пробнике-индикаторе (рис. 12) использованы три цифровые микросхемы, на которых собраны три узла световой индикации и узел звуковой индикации. Кроме того, на входе пробника стоит лампа накаливания HL4, которая начинает светиться, как только напряжение на входе превысит 150 В.
Познакомимся с работой пробника. Пока щупы ХР1 и ХР2 никуда не подключены, светодиоды не светятся, а генератор звуковой частоты, собранный на микросхеме DD3, не работает.

Когда же щупы подключены к источнику постоянного тока, причем на ХР1—плюс напряжения, а на ХР2 — минус, на вход элемента DD1.1 окажется поданным напряжение высокого уровня (логическая 1). Элемент переключится в нулевое состояние, и светодиод HL1 вспыхнет, сигнализируя о положительной полярности на щупе ХР1. Одновременно включится генератор 34. Из головного телефона BF1 раздастся звук, тональность которого зависит от сопротивления резистора R5. Поскольку элементы DD2.2 и DD1.3 не изменят своего состояния, светодиоды HL2 и HL3 останутся погашенными.
При изменении полярности напряжения на щупах элемент DD1.1 окажется в единичном состоянии, в такое же состояние перейдут элементы DD2.1 и DDI.2. На выходе элемента DD1.3 появится напряжение низкого уровня (логический 0), поэтому вспыхнет светодиод HL3 и включится генератор 34 — теперь тональность звука будет зависеть от сопротивления резистора R13. Элемент же DD2.2 останется в прежнем состоянии — ведь на его входах будут •разные уровни сигналов (из-за включения инвертора DD2.3). Светодиод HL2 гореть не будет.
В случае подачи на щупы пробника переменного напряжения начнут поочередно вспыхивать светодиоды HL1 и HL3 — с частотой переменного напряжения.
Во время «прозвонки» монтажа щупы оказываются замкнутыми через исправные соединительные цепи. Тогда напряжение на выводах 2 и 3 элемента DD2.1 оказывается ниже порога срабатывания, а на выводах 8, 9 элемента DD;.2 — выше. Элемент переключится в нулевое состояние. Вспыхнет светодиод HL2 и зазвучит сигнал в головном телефоне. Тональность сигнала в этом случае зависит от сопротивления резистора R9.
Разнотональная звуковая сигнализация удобна тем, что она помогает быст-• распознавать вид сигнала на входных щупах пробника.
Для пробника подойдут резисторы МЛТ-0,125 (R1 — МЛТ-1), конденсаторы К10-7В, диоды КД105 (VD2 и VD1) и Д9 (VD3—VD5) с любым буквенным индексом, светодиоды серий АЛ310, АЛ307, любые транзисторы из сери» МП37, МП38. Вместо микросхем К176ЛЕ5 подойдут К176ЛА7 без переделка печатной платы. Элементы DD2.1 и DD2.2 микросхемы К176ЛП12 нетрудно заменить элементами 2И — НЕ других микросхем этой серии, а вместо DD2.3 использовать оставшийся элемент микросхемы DD1 или DD3 (соединив оба егэ входа). Конечно, при такой замене придется изменить схему печати на плате.
В случае использования перечисленных деталей часть их монтируют на плате, чертеж которой приведен на рис. 13. Плату и остальные детали пробника размещают в небольшом корпусе, например, корпусе-упаковке от наручных часов. К верхней крышке корпуса крепят головной телефон ТМ-2В или аналогичный, без «рупора», и лампу накаливания СМИ 6,3-20 (HL4), а напротив светодиодов в крышке сверлят отверстия. На боковой стенке корпуса размещают входные гнезда XS1, XS2 и малогабаритный выключатель питания.
Налаживание пробника сводится к более точному подбору (если это понадобится) резисторов R2, R3, R6, R7, RIO, R11. Начать можно с режима «прозвонки». Замкнув входные щупы, подбором резисторов R6, R7 добиваются напряжения на выводах 2, 3 элемента DD2.1 примерно 4,3 В, т. е. немного-ниже порога срабатывания элемента микросхемы К176ЛП12. На входах же элемента DD1.2 подбором резисторов RIO, R11 устанавливают напряжение около 3,9 В, т. е. несколько больше порога срабатывания элемента. В то же время при разомкнутых щупах напряжение на обоих входах указанных элементов должно превышать порог срабатывания.

При подаче на вход пробника постоянного напряжения 5 В и более на« пряжение на выводах 5, 6 элемента DD1.1 должно превышать порог срабатывания— этого добиваются подбором резисторов R2, R3.
В заключение следует напомнить об одной особенности пробника — цепи с напряжением более 100 В нужно проверять возможно быстрее, во избежание выхода из строя резистора R1.


