Запуск трёхфазного двигателя в однофазной сети
Трехфазный асинхронный двигатель нормального исполнения может создавать вращающий момент без принятия специальных мер при питании от сети однофазного тока. Предположим, что цепь одного из проводов работающего двигателя, присоединенного к трехфазной сети, разомкнулась (например, вследствие перегорания плавкой вставки предохранителя). Машина, оказавшаяся в однофазном режиме с последовательным или последовательно-параллельным соединением обмоток статора (рис. 1), будет продолжать вращаться, преодолевая момент сопротивления нагрузки.
Однофазное включение асинхронного двигателя при соединении:
а) звездой; б) треугольником

В первом случае одна фаза полностью теряет питание, во втором происходит уменьшение напряжения на каждой из двух фаз, соединенных последовательно. Частота вращения двигателя при этом в обоих случаях снижается, а скольжение увеличивается.
Увеличение скольжения при неизменной нагрузке на валу сопровождается значительным возрастанием тока.
Для предупреждения излишнего перегрева обмоток необходимо снизить нагрузку двигателя до 60-65 % от номинальной. Остановив трехфазный двигатель, работающий в однофазном режиме, легко убедиться в том, что пустить его в ход непосредственно включением в сеть однофазного тока будет невозможно. Вращающий момент при пуске оказывается равным нулю. Это обусловлено характером магнитного поля статора, которое в однофазном режиме является пульсирующим.
Пульсирующее поле может быть представлено в виде двух полей, вращающихся с одной и той же синхронной частотой в противоположные стороны. Наибольшее значение (амплитуда) каждого из них равно половине амплитуды пульсирующего поля. Разложение пульсирующего поля и его изменение во времени иллюстрируются простым графическим построением (рис. 2) с допущением, что обмотка, по которой проходит ток (показанная в виде одного витка), создает в воздушном зазоре машины синусоидально распределенное магнитное поле (сплошная линия). Каждое из вращающихся полей (пунктирные линии 1 и 2) наводит в обмотке ротора ЭДС, под влиянием которых возникают токи.
Разложение пульсирующего магнитного поля на два вращающихся (1 и 2)

Взаимодействие вращающихся полей с токами ротора приводит к образованию вращающихся моментов, направленных в противоположные стороны. Неподвижный ротор по отношению к этим полям находится в одинаковых условиях, поэтому вращающие моменты полностью уравновешивают друг друга, этим и объясняется то обстоятельство, что трехфазный двигатель в однофазном режиме не имеет начального (пускового) момента.
Прямое поле направление вращения котоpoгo совпадает с направлением вращения ротора, наводит в eгo обмотке токи небольшой частоты (23 Герц при частоте напряжения сети 50 Герц). Обозначим момент, обусловленный прямым полем, через М1. Встречному (обратному) полю соответствует тормозной момент М2. Токи, индуктированные в обмотке ротора встречным полем, при малых значениях скольжения имеющего повышенную частоту (около 100 Гц) и, становясь поэтому почти чисто реактивными, оказывают размагничивающее действие. Ослабление встречного поля вызывает уменьшение тормозного момента М2.
Скольжение ротора по отношению к обратному полю равно:

По этой причине токи ротора, наведенные обратным полем, имеют повышенную частоту:

Каждое из вращающихся магнитных полей (прямое и обратное) является круговым. Пространственный вектор магнитодвижущей силы (МДС) кpyгoвого поля вращается с равномерной скоростью (n1=const), причем конец вектора перемещается по окружности.
Диаграммы вращающихся магнитных полей:
а) прямого кругового; б) обратного кругового; в) эллиптического

Результирующее магнитное поле, обусловленное результирующие МДС Ḟ, становится эллиптическим: конец вектора Ḟ при вращении описывает эллипс. Для эллиптического поля характерно непостоянство мгновенной скорости вращения пространственного вектора результирующей МДС и, соответственно, магнитного поля машины. Это обстоятельство может стать причиной возникновения вибраций, особенно при малых моментах инерции ротора.
Построение диаграммы вращающейся МДС эллиптического поля приведено рисунке ниже.
Большая и малая оси эллипса находятся по соотношениям:

Результирующий момент однофазного двигателя равен разности моментов от прямого и обратного полей:

Наличие тормозного момента приводит к ухудшению характеристик двигателя в однофазном режиме: по сравнению с трехфазным двигатель имеет меньшие КПД и коэффициент мощности.
Уменьшение КПД связано с возрастанием потерь, обусловленных появлением обратного поля. Снижение коэффициента мощности объясняется увеличением намагничивающего тока.
Как уже отмечалось, существенным недостатком трехфазного двигателя при однофазном включении является отсутствие пускового момента. Двигатели малой мощности можно пустить в ход «от руки», но этот способ неприемлем для более мощных приводов. Поэтому задача непосредственного пуска трехфазного двигателя от однофазной сети имеет важное значение. Одно из возможных ее решений рассматривается дальше — идея состоит в образовании в воздушном зазоре машины вращающегося магнитного поля эллиптического или кругового.
В эллиптическом поле кроме вращающего момента М1 возникает тормозной момент М2. В круговом поле тормозной момент отсутствует.
Для получения кругового вращающегося поля должны быть соблюдены определенные условия. При двух статорных обмотках магнитное поле становится круговым, если их МДС, равные по значению, сдвинуты в пространстве на 90 º (электрических) и во времени.
Заметим, что под МДС понимают произведение тока обмотки на число ее витков (эффективных). Ось МДС всегда совпадает с-осью обмотки.
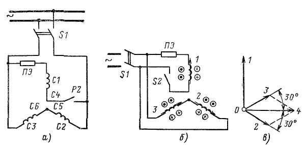
Рассмотрим схему включения трехфазного двигателя в однофазную сеть:

схему включения трехфазного двигателя в однофазную сеть
Образование пространственного угла сдвига между осями главной и пусковой обмоток однофазного двигателя
Одна обмотка статора образована фазой С1-C4, другая состоит из двух последовательно соединенных фаз: C2-C5, C3-C6. Назовем первую обмотку пусковой, а вторую рабочей, или главной. Стрелками 1-3 (рис. 4, б) для некоторого момента времени условно показаны направления и значения пульсирующих МДС отдельных фаз двигателя. Ось МДС главной обмотки (стрелка 4) находят по правилу параллелограмма (рис. 4, в). Как видно, ось МДС главной фазы оказывается сдвинутой относительно осей МДС статорных обмоток C2-C5, C3-C6 на 30 º. При этом между осями МДС главной и пусковой обмоток создается пространственный сдвиг, равный 90 º. При соединении обмоток двигателя треугольником получается тот же результат.
Для получения сдвига МДС, создаваемых токами обмоток во времени, в цепь пусковой обмотки включают активное сопротивление, индуктивное сопротивление или конденсатор. В первом и втором случаях создается эллиптическое вращающееся поле, так как сдвиг во времени между токами обмоток получается значительно меньше 1/4 периода. К достоинству этих способов пуска относятся простота и относительно невысокая стоимость пусковых элементов.
Если в качестве фазосдвигающего элемента использовать конденсатор, то можно получить вращающееся магнитное поле, близкое к круговому, а в некоторых случаях и круговое.
Пуск двигателя в ход производится следующим образом. При замкнутом рубильнике S2 (рис. 4,6) включается рубильник S1. По достижении частоты вращения, близкой к синхронной, цепь пусковой обмотки с пусковым элементом ПЭ размыкается вручную или автоматически, например, с помощью центробежного выключателя. Под напряжением сети на время работы остается только главная фаза.
Сравнение различных способов пуска показало, что пусковой ток для одного и того же значения момента получается наименьшим при пуске с помощью включения конденсатора. С уменьшением пускового тока уменьшаются колебания напряжения в линии, что приводит к улучшению условий пуска вследствие известной пропорциональности между вращающим моментом асинxpoнного двигателя и квадратом приложенного напряжения.
Для одинаковых пусковых токов начальный вращающий момент двигателя с конденсатором в цепи пусковой обмотки значительно превосходит момент, получаемый при включении активного сопротивления или индуктивности.


